您当前的位置:凡壹汽车 > 新车资讯 > 正文

还在担心停车困难?可折叠城市车帮你解决问题

2016-01-19 14:05 / 浅谈

天翼汽车快讯,近日有外媒报道,现代汽车正在研发一款可折叠的城市用车,并且已经在美国专利与商标局取得了相关的专利。

『现代可折叠城市用车设计草图』

『前挡风玻璃向内折叠效果』

『后舱盖向内折叠效果』

『折叠完成示意图』

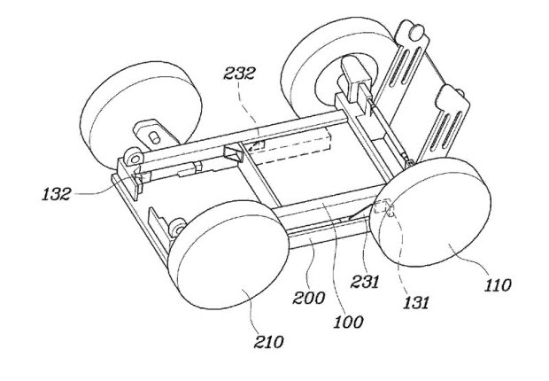
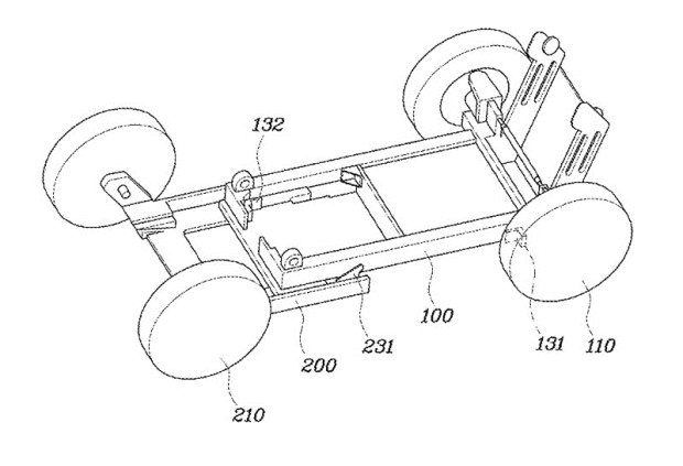
根据消息描述,现代研发的这款城市折叠车的前轮通过滑轨与车辆底盘链接,而后轮则通过一种折叠机构与底盘链接。另外,车辆的前挡风玻璃与车辆后舱盖相互独立,前挡风玻璃通过铰链可收入车内,后舱盖在挡风玻璃收入后,可向前折叠,当车辆需要折叠时,车轮、挡风玻璃及后舱盖依次进行折叠、滑动,进而达到缩小车辆体积的目的。

『前、后车轮折叠机构示意图』

『前、后车轮折叠机构示意图』

可折叠汽车的理念虽然不是第一次被提出,但我们不得不佩服现代可折叠车设计师的创意。面对当前越来越拥挤的的城市,停车位难找的问题甚至比堵车问题更让人头疼,面对这些,可折叠汽车似乎是一个看起来还不错的选择。关于可折叠汽车的更多消息,我们还将持续关注。

我来说两句(16人参与) 注册 登录

查看更多评论

CopyRight © 2015-2026 All Rights Reserved. 版权所有 腾焱科技 渝ICP备19015081号-3

关于我们联系我们中国互联网举报中心

经营性网站 警方提醒